Zawór nadmiarowy podciśnienia AMBRA
Przeznaczenie
Stosowany w rolnictwie w instalacjach podciśnienia. Instalowany na wozach asenizacyjnych, rurociągach wszędzie tam gdzie może wystąpić potrzeba zabezpieczenia urządzeń przed nadmiernym podciśnieniem wypompowywanego powietrza. Nastawa otwarcia regulowana. Temperatura pracy od 0 (bez cieczy) do + 180oC. Pozycja pracy pionowa.
Zawór nie nadaje się do przepuszczania cieczy, zwłaszcza przy występowaniu części stałych w zawiesinie (gnojowica itp.)
Budowa i zasada działania
|
LP |
Nazwa |
Materiał |
|
1 |
Podstawa z gwintem |
Mosiądz |
|
2 |
Podstawa |
Mosiądz |
|
3 |
Dysk |
Mosiądz |
|
4 |
Uszczelka |
FKM |
|
5 |
Podkładka |
Mosiądz |
|
6 |
Wrzeciono |
Mosiądz |
|
7 |
Sprężyna |
Stal ocynk. |
|
8 |
Pokrywa |
ABS |
|
9 |
Docisk sprężyny |
Mosiądz |
|
10 |
Nakrętka |
Mosiądz |
|
11 |
Seger |
Stal |
|
12 |
Seger |
Stal |
Zawór normalnie zamknięty, otwiera się powodując wpływ gazu gdy na zaworze pojawi się wartość ciśnienia poniżej nastawy. Zamyka się samoczynnie po podniesieniu ciśnienia. Regulacja zaworu za pomocą docisku (9) który napina sprężynę (7) o korpus (2). Dolne przyłącze wejściowe z gwintem ISO 228/1 na zamówienie możliwy gwint ANSI B1.20.1 (NPT). Zawór można łatwo wyregulować do żądanego ciśnienia, po czym nasadkę można zaplombować za pomocą dwóch praktycznych wywierconych języczków. Jest możliwość zamówienia zaworu kalibrowanego na określoną wartość podciśnienia, plombowanego.
Cechy funkcjonalne zaworu zostały specjalnie zbadane, aby zagwarantować pełne bezpieczeństwo produktu. Ogranicznik mechaniczny (12) reguluje otwarcie zaworu w położeniu maksymalnego wypływu. W przypadku przypadkowego odkręcenia nakrętki regulującej sprężynę z powodu drgań, drugi ogranicznik (11) blokuje mechanicznie odkręcenie i gwarantuje mimo to minimalną kalibrację na około -0,3 bar. Ponadto zapobiega całkowitemu odkręceniu się nakrętek i wpadnięciu do urządzenia, na którym zainstalowany jest zawór. Ze względów bezpieczeństwa średnica dysku (3) jest większa niż otwór wylotowy, tak że w przypadku przypadkowego złamania trzpienia, dysk nie wpadnie do instalacji.
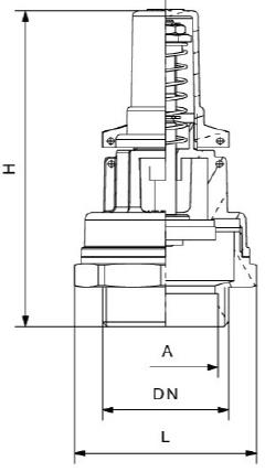
Wymiary ogólne
|
Numer katalogowy |
DN |
Ø |
H |
L |
A |
Masa [kg] |
|
UJ43,BRP |
1”½ |
40 |
120 |
69 |
40 |
0,515 |

Aby uzyskać szczegółowe informacje na temat cen naszych produktów, prosimy o kontakt poprzez formularz na stronie lub wysłanie wiadomości e-mail na adres lukomet@lukomet.pl.
Odpowiemy tak szybko, jak to możliwe, podając indywidualną ofertę.
KontaktPrzeznaczenie
Stosowany w rolnictwie w instalacjach podciśnienia. Instalowany na wozach asenizacyjnych, rurociągach wszędzie tam gdzie może wystąpić potrzeba zabezpieczenia urządzeń przed nadmiernym podciśnieniem wypompowywanego powietrza. Nastawa otwarcia regulowana. Temperatura pracy od 0 (bez cieczy) do + 180oC. Pozycja pracy pionowa.
Zawór nie nadaje się do przepuszczania cieczy, zwłaszcza przy występowaniu części stałych w zawiesinie (gnojowica itp.)
Budowa i zasada działania
|
LP |
Nazwa |
Materiał |
|
1 |
Podstawa z gwintem |
Mosiądz |
|
2 |
Podstawa |
Mosiądz |
|
3 |
Dysk |
Mosiądz |
|
4 |
Uszczelka |
FKM |
|
5 |
Podkładka |
Mosiądz |
|
6 |
Wrzeciono |
Mosiądz |
|
7 |
Sprężyna |
Stal ocynk. |
|
8 |
Pokrywa |
ABS |
|
9 |
Docisk sprężyny |
Mosiądz |
|
10 |
Nakrętka |
Mosiądz |
|
11 |
Seger |
Stal |
|
12 |
Seger |
Stal |
Zawór normalnie zamknięty, otwiera się powodując wpływ gazu gdy na zaworze pojawi się wartość ciśnienia poniżej nastawy. Zamyka się samoczynnie po podniesieniu ciśnienia. Regulacja zaworu za pomocą docisku (9) który napina sprężynę (7) o korpus (2). Dolne przyłącze wejściowe z gwintem ISO 228/1 na zamówienie możliwy gwint ANSI B1.20.1 (NPT). Zawór można łatwo wyregulować do żądanego ciśnienia, po czym nasadkę można zaplombować za pomocą dwóch praktycznych wywierconych języczków. Jest możliwość zamówienia zaworu kalibrowanego na określoną wartość podciśnienia, plombowanego.
Cechy funkcjonalne zaworu zostały specjalnie zbadane, aby zagwarantować pełne bezpieczeństwo produktu. Ogranicznik mechaniczny (12) reguluje otwarcie zaworu w położeniu maksymalnego wypływu. W przypadku przypadkowego odkręcenia nakrętki regulującej sprężynę z powodu drgań, drugi ogranicznik (11) blokuje mechanicznie odkręcenie i gwarantuje mimo to minimalną kalibrację na około -0,3 bar. Ponadto zapobiega całkowitemu odkręceniu się nakrętek i wpadnięciu do urządzenia, na którym zainstalowany jest zawór. Ze względów bezpieczeństwa średnica dysku (3) jest większa niż otwór wylotowy, tak że w przypadku przypadkowego złamania trzpienia, dysk nie wpadnie do instalacji.
Wymiary ogólne
|
Numer katalogowy |
DN |
Ø |
H |
L |
A |
Masa [kg] |
|
UJ43,BRP |
1”½ |
40 |
120 |
69 |
40 |
0,515 |

