Okucia szybkozłączne węży ssących,żeńskie typ C
Przeznaczenie i zakres stosowania
Przeznaczone są do oprawiania zbrojonych węży ssących z PCV lub gumowych o średnicy od 50 do 160 mm układów pompowni ściekowych i deszczownianych. Umożliwiają łatwy montaż i demontaż z innymi elementami układu ssącego zakończonymi szybkozłączami męskimi typu Perrot. Zapewniają pełną szczelność, błyskawiczne połączenie jednym ruchem ręki i swobodę zmiany kierunku połączenia w zakresie do 15o. System Perrot jest najczęściej wykorzystywanym przez ŁUKOMET systemem połączeń transportu ścieków, a przede wszystkim gnojowicy. Łagodnie ukształtowane garby sprawiają, że są niezastąpione przy oprawianiu wrażliwych na miejscowe zrywanie osnowy, węży elastycznych typu flatt flaut PCV. Jakkolwiek, wymiar wewnętrzny węża tłocznego powinien odpowiadać wymiarowi karbowanego elementu okucia, z tolerancją +/- 2%. Ciśnienie robocze do 12 Atm, do wody czystej.
Konstrukcja i kompletacja
Okucie B235,1,410 spawane jest w osłonie CO2 z elementów ze stali ST3S: cienkościennej rury podwójnie karbowanej, wytłoczki kielichowej i pierścienia zamykającego – całość ocynkowana ogniowo. Szczelność połączenia zapewnia okrągła uszczelka gumowa. Rozmieszczenie garbów uwzględnia montaż z wężem ssącym przy pomocy opaski zaciskowej. Do szybkozłącza o średnicy 50 i 70 mm zamiast rury cienkościennej wspawana jest rura grubościenna staczana na wymiar dla uzyskania garbów i faz.

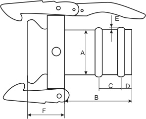
Dane Techniczne
|
Numer
katalogowy
|
Wytłoczka
kielichowa
|
Na wąż
ssący
[mm]
|
Wymiar [mm]
|
Waga
[kg]
|
|||||
|
A
|
B
|
C
|
D
|
E
|
F
|
||||
|
B235,410,C50
|
50
|
50
|
57
|
130
|
40
|
20
|
-3
|
47
|
0,9
|
|
B235,410,C63
|
70
|
63
|
66
|
125
|
40
|
30
|
-3
|
65
|
1,7
|
|
B235,410,C76
|
70
|
75
|
75
|
125
|
45
|
30
|
3
|
65
|
2,1
|
|
B235,410,C89
|
89
|
75
|
75
|
125
|
45
|
30
|
3
|
67
|
2,7
|
|
B235,410,C90
|
89
|
90
|
89
|
125
|
45
|
30
|
3
|
67
|
3,2
|
|
B235,410,C100
|
108
|
100
|
100
|
130
|
45
|
30
|
3
|
80
|
4,3
|
|
B235,410,C108
|
108
|
110
|
108
|
130
|
45
|
30
|
3
|
80
|
4,3
|
|
B235,410,C133
|
133
|
125
|
125
|
135
|
50
|
30
|
3
|
95
|
5,6
|
|
B235,410,C150
|
159
|
150
|
150
|
155
|
55
|
35
|
3
|
85
|
7,4
|
|
B235,410,C160
|
159
|
160
|
159
|
155
|
55
|
35
|
3
|
85
|
7,5
|
ŁUKOMET wykonuje także okucia w systemie Perrot ze stali kwasoodpornej lub aluminium, obsadzane na gorąco na rurach PE, oraz w innych systemach także w średnicach powyżej 200 mm, i inne.
Aby uzyskać szczegółowe informacje na temat cen naszych produktów, prosimy o kontakt poprzez formularz na stronie lub wysłanie wiadomości e-mail na adres lukomet@lukomet.pl.
Odpowiemy tak szybko, jak to możliwe, podając indywidualną ofertę.
KontaktPrzeznaczenie i zakres stosowania
Przeznaczone są do oprawiania zbrojonych węży ssących z PCV lub gumowych o średnicy od 50 do 160 mm układów pompowni ściekowych i deszczownianych. Umożliwiają łatwy montaż i demontaż z innymi elementami układu ssącego zakończonymi szybkozłączami męskimi typu Perrot. Zapewniają pełną szczelność, błyskawiczne połączenie jednym ruchem ręki i swobodę zmiany kierunku połączenia w zakresie do 15o. System Perrot jest najczęściej wykorzystywanym przez ŁUKOMET systemem połączeń transportu ścieków, a przede wszystkim gnojowicy. Łagodnie ukształtowane garby sprawiają, że są niezastąpione przy oprawianiu wrażliwych na miejscowe zrywanie osnowy, węży elastycznych typu flatt flaut PCV. Jakkolwiek, wymiar wewnętrzny węża tłocznego powinien odpowiadać wymiarowi karbowanego elementu okucia, z tolerancją +/- 2%. Ciśnienie robocze do 12 Atm, do wody czystej.
Konstrukcja i kompletacja
Okucie B235,1,410 spawane jest w osłonie CO2 z elementów ze stali ST3S: cienkościennej rury podwójnie karbowanej, wytłoczki kielichowej i pierścienia zamykającego – całość ocynkowana ogniowo. Szczelność połączenia zapewnia okrągła uszczelka gumowa. Rozmieszczenie garbów uwzględnia montaż z wężem ssącym przy pomocy opaski zaciskowej. Do szybkozłącza o średnicy 50 i 70 mm zamiast rury cienkościennej wspawana jest rura grubościenna staczana na wymiar dla uzyskania garbów i faz.

Dane Techniczne
|
Numer
katalogowy
|
Wytłoczka
kielichowa
|
Na wąż
ssący
[mm]
|
Wymiar [mm]
|
Waga
[kg]
|
|||||
|
A
|
B
|
C
|
D
|
E
|
F
|
||||
|
B235,410,C50
|
50
|
50
|
57
|
130
|
40
|
20
|
-3
|
47
|
0,9
|
|
B235,410,C63
|
70
|
63
|
66
|
125
|
40
|
30
|
-3
|
65
|
1,7
|
|
B235,410,C76
|
70
|
75
|
75
|
125
|
45
|
30
|
3
|
65
|
2,1
|
|
B235,410,C89
|
89
|
75
|
75
|
125
|
45
|
30
|
3
|
67
|
2,7
|
|
B235,410,C90
|
89
|
90
|
89
|
125
|
45
|
30
|
3
|
67
|
3,2
|
|
B235,410,C100
|
108
|
100
|
100
|
130
|
45
|
30
|
3
|
80
|
4,3
|
|
B235,410,C108
|
108
|
110
|
108
|
130
|
45
|
30
|
3
|
80
|
4,3
|
|
B235,410,C133
|
133
|
125
|
125
|
135
|
50
|
30
|
3
|
95
|
5,6
|
|
B235,410,C150
|
159
|
150
|
150
|
155
|
55
|
35
|
3
|
85
|
7,4
|
|
B235,410,C160
|
159
|
160
|
159
|
155
|
55
|
35
|
3
|
85
|
7,5
|
ŁUKOMET wykonuje także okucia w systemie Perrot ze stali kwasoodpornej lub aluminium, obsadzane na gorąco na rurach PE, oraz w innych systemach także w średnicach powyżej 200 mm, i inne.
