Okucia szybkozłączne węży tłocznych, męskie typ B
Przeznaczenie i zakres stosowania
Przeznaczone są do oprawiania płaskich węży tłocznych poliestrowych lub gumowych o średnicach od 50 do 200 mm dla rurociągów elastycznych szybkozłącznych. Umożliwiają łatwy montaż i demontaż z innymi elementami rurociągu zakończonymi szybkozłączami żeńskimi typu BAUER. Zapewniają pełną szczelność, błyskawiczne połączenie jednym ruchem ręki i swobodę zmiany kierunku połączenia w zakresie do 15O. System BAUER jest najczęściej stosowanym przez ŁUKOMET systemem połączeń deszczownianych. Solidne okucia szybkozłączne węży tłocznych mogą być stosowane również do łączenia elementów ssawnych. Łagodnie ukształtowane garby sprawiają że są niezastąpione przy oprawianiu wrażliwych na miejscowe zrywanie osnowy. Jakkolwiek, wymiar wewnętrzny węża tłocznego powinien odpowiadać wymiarowi karbowanego elementu okucia, z tolerancją + 2%, Ciśnienie robocze do 12 Atm, do wody czystej.
Konstrukcja i komplementacja
Okucie F373,309,B spawane jest w osłonie CO2 z elementów ze stali ST3S: cienkościennej rury potrójnie karbowanej i wytłoczki kulowej UB11,D303. Całość cynkowana ogniowo. Rozmieszczenie garbów uwzględnia montaż z płaskim wężem tłocznym przy pomocy opaski zaciskowej lub wiązania drutem. Do tego okucia, w celu połączenia z żeńskim elementem szybkozłącza kompletowany jest ocynkowany pierścień zamykający UB11,D304.
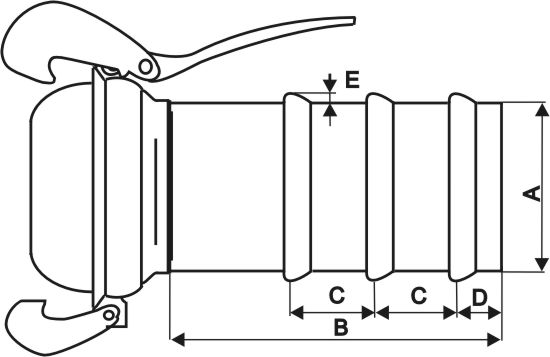
Dane techniczne
|
Numer katalogowy |
Wytłoczka kulowa (1) |
na wąż płaski [mm] |
Wymiar [mm] |
Waga [kg] |
|
||||
|
A |
B |
C |
D |
E |
|||||
F373,309,B50 |
HK50 |
51 |
50 |
170 |
40 |
20 |
2 |
0,8 |
|
|
F373,309,B75 |
HK76 |
76 |
75 |
175 |
40 |
35 |
2 |
1,8 |
|
|
F373,309,B90 |
HK89 |
90 |
89 |
180 |
45 |
35 |
2 |
2,7 |
|
|
F373,309,B100 |
HK108 |
102 |
100 |
180 |
45 |
40 |
2 |
3,5 |
|
|
F373,309,B110 |
HK108 |
110 |
108 |
180 |
45 |
40 |
2 |
3,6 |
|
|
F373,309,B125 |
HK133 |
127 |
125 |
185 |
45 |
35 |
3 |
4,6 |
|
|
F373,309,B150 |
HK159 |
152 |
150 |
190 |
55 |
40 |
3 |
6,5 |
|
|
F373,309,B200 |
HK194 |
203 |
200 |
250 |
60 |
45 |
3 |
11,1 |
|
Powyższe wymiary mają charakter orientacyjny i mogą się różnić w zależności od konkretnej partii okuć.
ŁUKOMET wykonuje również okucia w systemie BAUER ze stali kwasoodpornej lub aluminium, obsadzane na gorąco na rurach PE, oraz w innych systemach także w średnicach powyżej 200 mm, i inne.
Okucia do węży ssących wykonywane są w podobny sposób. Mają wówczas 2 przegarbienia zamiast 3.
Aby uzyskać szczegółowe informacje na temat cen naszych produktów, prosimy o kontakt poprzez formularz na stronie lub wysłanie wiadomości e-mail na adres lukomet@lukomet.pl.
Odpowiemy tak szybko, jak to możliwe, podając indywidualną ofertę.
KontaktPrzeznaczenie i zakres stosowania
Przeznaczone są do oprawiania płaskich węży tłocznych poliestrowych lub gumowych o średnicach od 50 do 200 mm dla rurociągów elastycznych szybkozłącznych. Umożliwiają łatwy montaż i demontaż z innymi elementami rurociągu zakończonymi szybkozłączami żeńskimi typu BAUER. Zapewniają pełną szczelność, błyskawiczne połączenie jednym ruchem ręki i swobodę zmiany kierunku połączenia w zakresie do 15O. System BAUER jest najczęściej stosowanym przez ŁUKOMET systemem połączeń deszczownianych. Solidne okucia szybkozłączne węży tłocznych mogą być stosowane również do łączenia elementów ssawnych. Łagodnie ukształtowane garby sprawiają że są niezastąpione przy oprawianiu wrażliwych na miejscowe zrywanie osnowy. Jakkolwiek, wymiar wewnętrzny węża tłocznego powinien odpowiadać wymiarowi karbowanego elementu okucia, z tolerancją + 2%, Ciśnienie robocze do 12 Atm, do wody czystej.
Konstrukcja i komplementacja
Okucie F373,309,B spawane jest w osłonie CO2 z elementów ze stali ST3S: cienkościennej rury potrójnie karbowanej i wytłoczki kulowej UB11,D303. Całość cynkowana ogniowo. Rozmieszczenie garbów uwzględnia montaż z płaskim wężem tłocznym przy pomocy opaski zaciskowej lub wiązania drutem. Do tego okucia, w celu połączenia z żeńskim elementem szybkozłącza kompletowany jest ocynkowany pierścień zamykający UB11,D304.
Dane techniczne
|
Numer katalogowy |
Wytłoczka kulowa (1) |
na wąż płaski [mm] |
Wymiar [mm] |
Waga [kg] |
|
||||
|
A |
B |
C |
D |
E |
|||||
F373,309,B50 |
HK50 |
51 |
50 |
170 |
40 |
20 |
2 |
0,8 |
|
|
F373,309,B75 |
HK76 |
76 |
75 |
175 |
40 |
35 |
2 |
1,8 |
|
|
F373,309,B90 |
HK89 |
90 |
89 |
180 |
45 |
35 |
2 |
2,7 |
|
|
F373,309,B100 |
HK108 |
102 |
100 |
180 |
45 |
40 |
2 |
3,5 |
|
|
F373,309,B110 |
HK108 |
110 |
108 |
180 |
45 |
40 |
2 |
3,6 |
|
|
F373,309,B125 |
HK133 |
127 |
125 |
185 |
45 |
35 |
3 |
4,6 |
|
|
F373,309,B150 |
HK159 |
152 |
150 |
190 |
55 |
40 |
3 |
6,5 |
|
|
F373,309,B200 |
HK194 |
203 |
200 |
250 |
60 |
45 |
3 |
11,1 |
|
Powyższe wymiary mają charakter orientacyjny i mogą się różnić w zależności od konkretnej partii okuć.
ŁUKOMET wykonuje również okucia w systemie BAUER ze stali kwasoodpornej lub aluminium, obsadzane na gorąco na rurach PE, oraz w innych systemach także w średnicach powyżej 200 mm, i inne.
Okucia do węży ssących wykonywane są w podobny sposób. Mają wówczas 2 przegarbienia zamiast 3.
