Hydranty początkowe rurociągów PE
Przeznaczenie
Hydrant początkowy służy do zasilania w wodę podziemnych polietylenowych deszczownianych linii przesyłowych do celów nawodnień. Jest to pierwszy element stały linii, do którego podłączana jest pompownia. Hydranty początkowe mogą zawierać dodatkowy osprzęt dla innych zadań np. spust odwodnieniowy, zawór zwrotny itp. Stosowane są tam gdzie wymagana jest pełna szczelność jednocześnie stanowią oddzielny demontowalny element z układu.

Konstrukcja i kompletacja
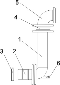
W dowolnym hydrancie początkowym można wyróżnić dwa zasadnicze zespoły elementów: podstawę hydrantu 1 z przyłączami 2 i opaskami 3, oraz głowicę 5 z zaworem zwrotnym 4. Zasada ta może być realizowana na wiele sposobów. Hydranty początkowe nisko położone a bez zaworu zwrotnego powinny posiadać boczne przyłącze dla zrzucenia słupa wody nad hydrantem przed rozłączeniem pompowni. Ze względu na różnorodność ostatecznego wykonania hydrantów przelotowych zależnych od specyficznych wymagań odbiorcy nie podaje się konkretnego rozwiązania ale przykłady rozwiązań występujących najczęściej w praktyce produkcyjnej ŁUKOMET.
Elementy kołnierzowe skręcane śrubami i uszczelniane na uszczelki płaskie. Elementy stalowe (jak poz 2) łączone są z rurą PE na gorąco i zaciskane opaską stalową. Wykonywane są na rury PE63, PE75, PE90, PE110 i większe. Wysokość podstawy 1 najczęściej w zakresie 0,5 – 1,2 m. Elementy podziemne cynkowane ogniowo. Wyroby kompletowane na zamówienie.
Odmiany
Hydranty początkowe występują najczęściej w najniższych miejscach linii. Wówczas powinny być wyposażane w zawór spustowy 6 dla odwodnienia rurociągu po sezonie i zawór zwrotny dla odłączenia się od hydrantu „na sucho”.
Aby uzyskać szczegółowe informacje na temat cen naszych produktów, prosimy o kontakt poprzez formularz na stronie lub wysłanie wiadomości e-mail na adres lukomet@lukomet.pl.
Odpowiemy tak szybko, jak to możliwe, podając indywidualną ofertę.
KontaktPrzeznaczenie
Hydrant początkowy służy do zasilania w wodę podziemnych polietylenowych deszczownianych linii przesyłowych do celów nawodnień. Jest to pierwszy element stały linii, do którego podłączana jest pompownia. Hydranty początkowe mogą zawierać dodatkowy osprzęt dla innych zadań np. spust odwodnieniowy, zawór zwrotny itp. Stosowane są tam gdzie wymagana jest pełna szczelność jednocześnie stanowią oddzielny demontowalny element z układu.

Konstrukcja i kompletacja
W dowolnym hydrancie początkowym można wyróżnić dwa zasadnicze zespoły elementów: podstawę hydrantu 1 z przyłączami 2 i opaskami 3, oraz głowicę 5 z zaworem zwrotnym 4. Zasada ta może być realizowana na wiele sposobów. Hydranty początkowe nisko położone a bez zaworu zwrotnego powinny posiadać boczne przyłącze dla zrzucenia słupa wody nad hydrantem przed rozłączeniem pompowni. Ze względu na różnorodność ostatecznego wykonania hydrantów przelotowych zależnych od specyficznych wymagań odbiorcy nie podaje się konkretnego rozwiązania ale przykłady rozwiązań występujących najczęściej w praktyce produkcyjnej ŁUKOMET.
Elementy kołnierzowe skręcane śrubami i uszczelniane na uszczelki płaskie. Elementy stalowe (jak poz 2) łączone są z rurą PE na gorąco i zaciskane opaską stalową. Wykonywane są na rury PE63, PE75, PE90, PE110 i większe. Wysokość podstawy 1 najczęściej w zakresie 0,5 – 1,2 m. Elementy podziemne cynkowane ogniowo. Wyroby kompletowane na zamówienie.
Odmiany
Hydranty początkowe występują najczęściej w najniższych miejscach linii. Wówczas powinny być wyposażane w zawór spustowy 6 dla odwodnienia rurociągu po sezonie i zawór zwrotny dla odłączenia się od hydrantu „na sucho”.
